河北工程大学怎么样?河北工程大学好不好?河北工程大学综合实力如何?
的有关信息介绍如下:河北工程大学是河北省重点骨干大学,河北省人民政府、水利部共同建设高校,入选中西部高校基础能力建设工程,坐落于中国历史文化名城、中国“成语典故之都”——邯郸市。学是一所历史悠久、学科齐全、学术实力雄厚、办学特色鲜明,多学科协调发展的多学科性高等学府。
(一)全国排名
2017年, 中国大学评价研究报告隆重揭晓了2017中国大学排名700强,其中河北工程大学排名第388位,与2016年排行的第348名相比,其排名下滑40位。若将河北工程大学按院校类型分类,根据该研究报告,河北工程大学归类为应用型理工类院校。

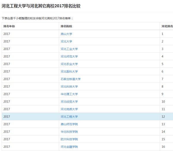
(二)省内排名
而从省内排名来看,2017年,河北工程大学排名第12位,又降了。去年还是排名第11,现在位于第十一的是河北地址大学。河北地质大学是去年改的名,原来叫石家庄经济学院。

(三)专业排名
建筑学和土木是河北工程大学的两大王牌专业,毕竟在改名为河北工程大学之前,它的名字叫河北建筑工程学院。其中建筑学是五年制,五年出来以后,一般的设计院都能进去的,而且薪资待遇很好,考研或者出国留学也有不错的对口学校。土木是躺在床上都能找到工作的专业,零几年那会,一直盛传清华想收购学院的土木专业。下表是学校专业根据录取分数的排名。
自动化专业的今年有签海康威视的,在石家庄,直接起步薪资就到7000。还有电气专业,河北工程大学信电学院还有自己的机器人团队。2017年河北工程大学机器人代表队闯进全国16强,荣获大赛二等奖。而在此之前,河北工程大学机机器人团队已连续9次参加全国大学生机器人大赛,获得全国一等奖2次,二等奖5次。
学校的水利水电专业也是厉害的很,当年的华北水利水电就是在河北邯郸,后来搬迁到郑州。但是一大批优秀的教师安土重迁,选择留守邯郸,也因此受到了相关部门的打压。水电学院一度被降为中专,但是老一辈人一直坚守学校。到后来,从华北水利水电学院走出来的水利部部长来邯郸巡视,看到荒草遍地的校园,下定决心支持水电学院的发展,迎来了发展的契机。
另一方面,河北工程大学唯一的博士点就是水利工程,当年申报博士点有两个专业,一个是采矿,另一个水利工程。采矿在2010年以前,甚至更早的时候,一直是学校的王牌专业。毕竟,煤炭经济兴盛时期,采矿专业直接也是年薪+分房+家属安排工作的待遇,这在矿院是绝无仅有的。2014年申报博士点的时候,哈校长负责的是水利工程,另一位校长负责的是采矿。结果,显而易见,采矿专业申报落选了。
你能看到的只是现在的经济形势,从专业上来看,真的没有哪个专业是能保证你一辈子衣食无忧的。就像采矿专业一样,2011年我入学的时候,采矿还是排名前五的专业,到现在排名持续降到29了。

综上所述,从官方显示数据来看,河北工程大学并不具有较为靠前的排名。但是,我们必须认识到,现有的排名指标权重是不利于河北工程大学这样的老牌工科学校的由于地理位置和历史原因,以及当前形势政策的影响,在排名上并不占据有利地位。想了解更多的学校信息,可以关注学校矿院日报社的公众号kyribao。或者学校的公众空间3240409943。望采纳。



